防火卷帘分类
作者:新澳内部精准码资料
日期:2024-03-28 10:06:21
阅读量:0
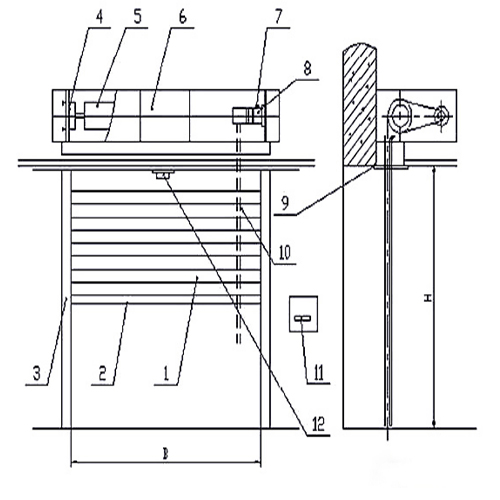
防火卷帘是指在一定时间内,连同框架能满足耐火稳定性和完整性要求的卷帘。由控制箱、穿线管、电子锁盒、护罩、帘面、导槽、卷轴、防火电动卷帘门机等组成,如下图:

防火卷帘分类
1、按材质分
钢质防火卷帘
指用钢质材料做帘板、导轨、座板、门楣、箱体等,并配以卷门机和控制箱所组成的能符合耐火完整性要求的卷帘。
无机纤维复合防火卷帘
指用无机纤维材料做帘面(内配不锈钢丝或不锈钢丝绳),用钢质材料做夹板、导轨、座板、门楣、箱体等,并配以卷门机和控制箱所组成的能符合耐火完整性要求的卷帘。
特级防火卷帘
指用钢质材料或无机纤维材料做帘面,用钢质材料做导轨、座板、夹板、门楣、箱体等,并配以卷门机和控制箱所组成的能符合耐火完整性、隔热性和防烟性能要求的卷帘。
2、按型式分
卷轴式
帘面通过卷轴卷动卷起来的防火卷帘。
折叠提升式
帘面通过折叠型式收缩的防火卷帘。